Первая
Новые
Читаемые
По алфавиту
Разделы
Авторы
Видео
Фото
Магазин

Охотники на привале

Галереи:  B50,  CZ200,  Cr1377,  T4,  T4 конкурс      
Страницы: 1  ... 14  15  16  17   [18]  19  20  21  22  ...  26 
valera81
09-12-2013 17:47
О! Спасибо!Это конечно наглость!!! А чертеж переходника выноса ОП вивер-вивер? Может у кого лежит??? Заранее спасибо!!!

Leftenent
09-12-2013 19:16
quote:
Originally posted by nobodys73:

ёрничать не обязательно. лучше бы чертёжик подбросил.



Только в этой теме присутствуют чертежи для изготовления: а) Пистолета
б) Клона винтовки Кондор.
Могу посоветовать прочитать вот это: http://mastera.forblabla.com/b...pid=43996787328
Deni-kin
10-12-2013 08:52
quote:
Originally posted by valera81:

чертеж переходника выноса ОП вивер-вивер



Возьми и перечерти любой из данных.
valera81
10-12-2013 09:13
У меня по черчению 3с--- было!!! А пролететь в этом деле очень легко, там ведь допуски и прочее надо учитывать!!! Плюс я отдаю чертеж на завод и получу только готовое изделие, кто делал я даже знать не буду!!! Спросить, пообщаться нет возможности!!! И отношение, как одолжение делают!!! Поэтому и прошу помощи!!!
Leftenent
10-12-2013 13:36
quote:
Originally posted by valera81:

У меня по черчению 3с--- было!!!



В этой теме, да и в любой другой не будет полного комплекта чертежей и др. документации для изготовления какого либо изделия. Здесь каждый сам себе и конструктор и технолог и нормировщик и станочник
Единственный полный комплект - это пост #127. Только его надо внимательно прочитать и самому внести корректировки, описанные автором.
Будет гораздо проще купить готовое изделие или заказать кому нибудь из мастеров.
valera81
10-12-2013 14:17
Проще!!! Не всегда!!! Главное, я переходник ласта-вивер нашел!!! Ещё раз, Спасибо!!! Но если поделятся чертежами переноса ОП вивер-вивер, буду очень благодарен!!!
Deni-kin
10-12-2013 17:11
2 valera81
- Чтожь ты так орёшь то ? Оглушил совсем.
- Командный голос вырабатываю товарищ генерал!!! (С)
Хрен с тобой - какой перечертить и какая высота? Всё равно делать не чего...

valera81
11-12-2013 01:14
Deni-kin! ТС! Модератор! Извините за флуд! При необходимости удалю! При таком количестве "специалистов" не кричать, плакать надо!!! Смайлов нет!!! Видел бы ты УСМ, который мне на заводе(где "замки для сейфов делают") сделали и знал бы сколько я за это отдал(для примера, в Китаея я мог бы их 4 комплекта взять)!!!!!Но ещё большая проблема-это границы, проблемы с пересылом! Поэтому и обратился за помощью! Но чудо! Недавно! Вышел на человека, который занимается передачей чертежа к специалисту и возвращением готового изделия, но он принимает только законченный
по всем правилам чертеж! Качество понравилось, цена чуть дороже, чем России, но нет пересыла. Для индивидуального заказа, то что доктор прописал! Могу ещё привести пример, покупаю я готовое изделие, нервы, перевод, отправка,граница объяснения на таможне, все! Получил! Счастливый иду в магазин брать колечки и ОП и засада, не могу подобрать, промеряю и вижу размеры не соответствуют! Связываюсь с продавцом, он с мастером-изготовителем и слышу ответ, это не вивер, это планка мол пикатини, но даже его размерам она не соответствует! Об обмене я даже и не думал, но продавец готов выслать другой комплект, при получении которого я уничтожаю брак снимая все на камеру. Но тут взбунтовался мастер-изготовитель!Мол брака никакого нет и хрен ты чтонибудь получишь! Поэтому Deni-kin, очень много факторов! Поэтому, если не трудно, буду благодарен и не только я, получить перечерченый чертеж, тобой ранее предоставленный!!! Приношу извинения за вынос мозга!!! Заранее спасибо, Валерий.
Leftenent
11-12-2013 08:13
quote:
Originally posted by valera81:

Счастливый иду в магазин брать колечки и ОП и засада, не могу подобрать, промеряю и вижу размеры не соответствуют! Связываюсь с продавцом, он с мастером-изготовителем и слышу ответ, это не вивер, это планка мол пикатини, но даже его размерам она не соответствует!



Это куда в вивер РТИ ставятся?
valera81
11-12-2013 08:44
Шутник! ;-) Кольца для оптики под планку вивер!!!
Watchdog
13-12-2013 12:43
quote:
Originally posted by valera81:

слышу ответ, это не вивер, это планка мол пикатини



Извини за грубость, но это отмазки и развод для лохов. Да, есть планка вивера и есть планка пикатини. В сечении они одинаковы, отличаются шагом (или размером- не помню) прорезей. В общем вивер - гражданский вариант армейской планки пикатини. По видимому в армии США прапорщиков не меньше чем в Российской, поэтому сделано так, чтобы армейский обвес на гражданскую планку поставить было невозможно, но не наоборот.
Извиняйте за ОФФ.
valera81
13-12-2013 06:05
Ты думаешь я об этом не знаю???!!! Но чтобы производителю рожу набить нужно 10000км проехать и две границы!!! Все, давайте эту тему больше не будем поднимать, это флуд!!!
Deni-kin
16-12-2013 12:45
Вроде ни чего не забыл:
Deni-kin
16-12-2013 01:03
Забыл высоты готового изделия сверху слева поменять, там вместо 3,5 - 7,5 надо.
click for enlarge 1699 X 2200 181.4 Kb picture

valera81
16-12-2013 05:42
Спасибо! Смотрю и понимаю, сам бы не осилил!
zaleshin
21-12-2013 06:43
Deni-kin
интерестно почему на виверах по разному размеры пишут кто 20мм кто то 20,9мм и на 21.2мм Где правда?
Deni-kin
21-12-2013 12:10
Да хз, есть у меня прицел, с трёх сторон вивера на нём выфрезерованы, у всех ширина разная и отлична от винтовочной и пистолетной планки, но в приделах 1мм вокруг 21мм. Была тут темка с обсуждением какой он должен быть, вроде пришли к общему мнению, что ширина 21мм, если не ошибаюсь - давно это было.
К стати, что бы писали 20, ни разу не видел.

Watchdog
21-12-2013 13:37
quote:
Originally posted by Deni-kin:

Была тут темка с обсуждением какой он должен быть, вроде пришли к общему мнению, что ширина 21мм, если не ошибаюсь - давно это было.



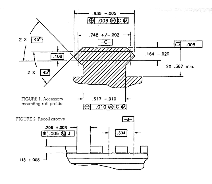
Как же, помню такую темку . Лет так семь тому, у дальнобойщиков в разделе. Обсуждение там было из серии "ссы в глаза, все равно божья роса." Танкист наш отдыхает. В основном все свелось к технологии изготовления по чертежу из патента - на нем размеры хитро нанесены - как прямоугольная призма, описанная вокруг прямоугольника. Поскольку курс технологии обработки металов у нас был полуфакультативным, то это единственное, что я прочитав тему из нее запомнил, да и не надо оно тогла мне было. А так да, ширина планки - 0,835-0,005" (21,2-0,13)
Вот:

click for enlarge 800 X 695 32.5 Kb picture
Это пикатини.

Где-то и сам патент есть, но ... где-то не нашел

PS Если учесть,что планка с обвесом сопрягается по наклонным граням, допуск ее ширины в минус не особо важен. Что 21, что 20 -все едино.

Deni-kin
27-12-2013 16:05
quote:
Originally posted by Watchdog:

...допуск ее ширины в минус не особо важен. Что 21, что 20 -все едино.



Как это? Если допустим в переходнике как выше, который надвигается, а не крепится боковой прижимной планкой, нижний размер сделать 20, то на 21 он просто не налезет .

Watchdog
29-12-2013 13:54
цитата:
Originally posted by Deni-kin:

нижний размер сделать 20, то на 21



Мы в очередной раз начали спорить о разных вещах
Я писал о ВЕРХНЕМ размере на чертеже - размере, до которого срезаются боковые ребра призмы, чтобы компенсировать технологическую погрешность при обработке внутреннего ребра на обвесе. Как-то как, косноязычненько получилось, извини

Видеоролики
Как чистить ствол?Как нарезается стволЗа что могут изьять пневматику? Закон об оружии! Пневматика! #пневматика #законоборужии
Самые новые добавления в архив Фторопласт или капролон или..
Хром и никель
Иж-32БК из коллекции продам
Вопрос любителям ИЖ 46М.
Umarex Walther Lever Action СО2 - ковбой или терпила
Похожие темы Пневматика без документов
Кучность винтовки с заведомо качественным стволом.
Олбанскому - НЕТ!
Фтулочка-сопло в накопитель
Поговорим о чистке ствола
Страницы: 1  ... 14  15  16  17   [18]  19  20  21  22  ...  26 
Первая    Предыдущая    Следующая    Последняя
Все темы Mixamarket


  Начало Документация Фирмы/Сайты Фото/голоса птиц Определитель Звуки Реклама Обратная связь FAQ в начало страницы  

2006-2026 topguns.ru   ver. 24.3    redesign & programming lebedev.com

 
Rambler's Top100