Первая
Новые
Читаемые
По алфавиту
Разделы
Авторы
Видео
Фото
Магазин

Супер-пупер-пуля eley magnum 5.5

Галереи:  B50,  CZ200,  Cr1377,  T4,  T4 конкурс      
Страницы: 1  2  3   [4]  5  6  7  8  ...  233 
TracerBullet
21-02-2008 18:39
То что тяжело качать - пох, привыкну, хочу 240 - 260м/с(тяжолой) с 6 качков, без увеличения усилия накачки.

З.Ы. Перепуск немного травит...
З.З.Ы. Будут киты - я первый в очереди)

Konstantin_E
21-02-2008 23:25
quote:
хочу 240 - 260м/с(тяжолой) с 6 качков, без увеличения усилия накачки.
Ого! А закон сохранения энергии? А работа, так физическое понятие? Вот со второй проще- вставить в трубу насоса другую, потоньше. Получим меньшую порцию воздуха, которую сжимаем. Качать станем больше, но легче. (идея возможно и не совершенна, это первое что пришло в голову после 5-го качка )
TracerBullet
22-02-2008 12:08
Да это я так, мечтаю , просто покачав сегодня по 15 качков на выстрел, лицо становится такое , и сразу хочется бам50 насосом накачать и получить 60 нормальных выстрелов . Подождем, может в светлые головы наших гуру прийдет мысль, которая и мои задачи решит .
Konstantin_E
22-02-2008 12:48
quote:
просто покачав сегодня по 15 качков на выстрел, лицо становится такое ,

Да прибудет с вами Сила! Сам тоже пробовал качать это ружжо, но терпения хватило только на десяток фрикций Собсвенно я не владелец, это братец купил(с моей подсказки). На городском форуме выложил немного данных http://guns.dp.ua/forum/viewtopic.php?t=345 , в принципе мало отличающихся от здешних. Дествительно, для плинка вполне хватает раза три "дунуть". А вот чего с ней придумать, чтоб легче качать... Даже не знаю. Варианта два- качать мало, но тяжко, или много(медленно и уверенно) и легко. По мне так для плинка первый вариант, а для неспешной охоты- второй. Кстати, в машине(Дэу Ланос) много качать неудобно... Уже проверили. И еще, я где-то тут видел интересный ответ на вопрос-
quote:
мысль, которая и мои задачи решит .
В ответ предложили большей баллон с воздухом. Ну ладно, а что с переводом в ПСП? Только клапан помеха? А если подавать в него воздух медленно, чтоб успел закрыться клапан? Хотя бы теоритически сработает? Если честно, то я так до конца и не разобрался как он работает.
Инспектор
22-02-2008 01:32
Не с таким клапаном - Самооткрывашка дополнительный балон неприспособиш! Да и подкачивать балон (а подкачивать надо много) таким диаметром поршня муторно как уже здесь писали!
Konstantin_E
22-02-2008 01:35
quote:
Не с таким клапаном - Самооткрывашка дополнительный балон неприспособиш!
Между клапаном и резиком стоит краник. Открыл-закрыл, выстрел. Второй цыкл, третий, четвертый. Утопия конечно... Но всяко может быть.
Yrka
22-02-2008 02:39
С усилием все очень просто - нужно удлиннить рычаг , пострадает внешний вид но мне кажется в этой винтовке внешность не главный козырь.


Несмотря на достаточную мощность из коробки , как и в любой, в этой винтовке есть 3-4 слабых места которые стоит доработать для получения максимальной отдачи.

Самым слабым местом конструкции я вижу ствольную коробку - жаль что она не сделана из нескольких частей , да и хотелось бы метал вместо пластика ..

MoGreG
22-02-2008 02:42
что такое самоотрывашка кто-нибудь может объяснить???
val
22-02-2008 06:04
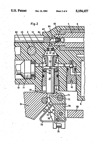
Это дифференциальный клапан, не требующий ударника. Открывается давлением воздуха. Иногда называют дамп, англ. dump - сбросить - в смысле, что весь воздух из накопителя обязательно вылетит. Просто для примера:
click for enlarge 544 X 800 113,2 Kb picture
val
22-02-2008 06:30
quote:
Originally posted by TracerBullet:

То что тяжело качать - пох, привыкну, хочу 240 - 260м/с(тяжолой) с 6 качков, без увеличения усилия накачки.


Гы! А как насчет с 4? Мечтать не вредно, а сделать можно. С уменьшением усилия, раза этак в 3
quote:
Originally posted by Инспектор:
Val разреши, народу это очень интересно!
Ну, я не знаю... С адвокатом посоветоваться нужно...

Ты че, - всерьез? Умора, да и только

В Штаты начнете ввозить - буду мзду брать

Yrka
22-02-2008 10:30
Val ,твоя система рычагов - ничего кроме большого уважения не вызывает !
Но пока что время есть только на удлиннитель рычага , а рук хватит точно , на 2100 проверено . Ведь удлиннитель нужен в конце хода сжатия , когда руки разводить не нужно .
Yrka
22-02-2008 10:40
quote:
Originally posted by val:
Гы! А как насчет с 4? Мечтать не вредно, а сделать можно. С уменьшением усилия, раза этак в 3

А схема имеет отношение к этому утверждению ?
толи я не понимаю толи там отсутствует второе уплотнение детали 16, если конечно полость справа под давлением..

adima
22-02-2008 12:39
quote:
Originally posted by Yrka:

Ради статистики , качни раз 4-5 без пули ессно и заткнув ствол выстрели , внимание обрати на пулеприемник - оттуда должно дунуть .
Досылатель малость неправильно они сделали.



Проверил - 1-2 не дует вообще 3 и больше шипит - но не из под досылателя - а откуда-то из нутри - видимо перепуск. Досылатель при закрывании последнии 5 мм идет довольно туго даже без пульки - как раз когда резинкой в ствол заходит - т.е. там у меня все ок.

Yrka
22-02-2008 15:17
quote:
Originally posted by adima:

Проверил - 1-2 не дует вообще 3 и больше шипит - но не из под досылателя - а откуда-то из нутри - видимо перепуск. Досылатель при закрывании последнии 5 мм идет довольно туго даже без пульки - как раз когда резинкой в ствол заходит - т.е. там у меня все ок.


О чем мы спорим , ты в курсе как работают резиновые уплотнения ?
Отверстие в котором ходит досылатель - диаметром 6 мм , диаметр стержня на котором посажено уплотнительное кольцо - 5.5 мм . Такой огромный зазор уплотняется кольцом только при малом давлении (что ты с успехом и доказал на 1-2 качках) я же говорил об проведении эксеримента на 5-6 качках (такое количество выбрано не зря) и чем большее давление тем сильнее будет дуть .

Лечить - просто . Либо напрессовать за кольцо чтото поверх стержня и довести диаметр до 6 мм . либо выточить новый с правильными размерами.

Мне кажется двух мнений тут быть не может.

adima
22-02-2008 16:07
quote:
Originally posted by Yrka:

О чем мы спорим , ты в курсе как работают резиновые уплотнения ?


Да я и не спорю, говорю как есть, на 4 качках шипит - но масло залитое поверх досылателя не пузырится и не брызгает.

Если кусок термоусадки одеть сразу сзади кольца - будет работь как упор для него или что покрепче надо ?

Yrka
22-02-2008 16:32
Я уже попробовал термоусадку - она разболталась очень быстро . Напрессовывать нужно тонкую трубку например из бронзы\латуни.
val
23-02-2008 02:16
quote:
Originally posted by Yrka:

А схема имеет отношение к этому утверждению?


Которая схема? Та, что выставил для примера - нет. На легкий локтайт посади, будет держать Там давление не более 10атм, первая ступень. А серьезно - там, конечно, "хомут". Уплотнение должно было быть посажено ниже отверстия. Схема старая и не моя.
Для существенного снижения нагрузки с удлиннением рычага рук точно не хватит. А еще мне неоднократно говорили, что у Бенов выпуска последних лет рычаги ломаются от усталостного износа.
Yrka
23-02-2008 23:59
Не , тут удлиннитель покруче будет !
Два вечера угрохал и штуки 3 отрезных круга на турбине ! и еще камень на наждаке и сварщика замучал..

Вобщем если кому интересен процесс - обвел винтовку на бумажке , пририсовал рычаг , потом снял цевье и дорисовал до рычага. Выкройку вырезал . потом долго выпиливал из металла по выкройкам - средняя 4 мм боковые по 2.5
Сегодня обварили и я ее ободрал на наждаке и задул краской..
Сушится до завтра , винтовка не собрана так что к скотчу придираться не надо
click for enlarge 1200 X 607  65,6 Kb picture
click for enlarge 1200 X 168  19,5 Kb picture
click for enlarge 1200 X 248  20,1 Kb picture
click for enlarge 1200 X 302  28,9 Kb picture

val
24-02-2008 12:07
Деталей много. Не очень разобрался, что к чему, но выглядит ЖЕЛЕЗНО - не сломается. Сколько времени пошло на изготовление?
Yrka
24-02-2008 12:15
Ну деталей всего 4 - хотел же сделать расширение в области где рукой давишь. Сломаться не должно .
На первой фотке сверху - боковые части , снизу внутренние. На второй фотке внутренние сварены - они и формируют рычаг с расширением.
К родному рычагу удлиннитель приварен на длинне 52 мм , цевье профрезеровал и одел на сваренный вместе удлиннитель и рычаг.
На изготовление по времени пошло гдето часов 5. Это от задумки до конца реализации , просто сварщика вчера небыло , а то сделал бы еще вчера.
Видеоролики
Crosman 2100Pumpmaster Classic Review 1377 - Entry Level ExcellenceТОП-5 МУЛЬТИКОМПРЕССИОННЫХ ПНЕВМАТИЧЕСКИХ ВИНТОВОК! #Пневматика #Оружие #пневматические_винтовки
Самые новые добавления в архив Фторопласт или капролон или..
Хром и никель
Иж-32БК из коллекции продам
Вопрос любителям ИЖ 46М.
Umarex Walther Lever Action СО2 - ковбой или терпила
Похожие темы ИЖ60мк с дожимом
Kandar LR700W - мультикомпрессионная винтовка ( snowpeak spa lr700w)
Захотелось автономности
AIRSTRIKE (она же Sharp Innova, ZOS) - мультикомпрессионная винтовка глазами плинкера
Тактика АПгрейда ИЖ-22
Страницы: 1  2  3   [4]  5  6  7  8  ...  233 
Первая    Предыдущая    Следующая    Последняя
Все темы YuraS


  Начало Документация Фирмы/Сайты Фото/голоса птиц Определитель Звуки Реклама Обратная связь FAQ в начало страницы  

2006-2025 topguns.ru   ver. 24.3    redesign & programming lebedev.com

 
Rambler's Top100